《流动人员人事档案管理服务规定》(人社部发〔2021〕112号)
《关于进一步做好流动人员人事档案接收工作有关事项的通知》(桂人社办函〔2015〕40号)
《关于进一步加强流动人员人事档案管理服务工作的通知》(人社部发〔2014〕90号)
根据(人社部发〔2021〕112号)、(人社部发〔2014〕90号)和(桂人社办函〔2015〕40号)文件精神,进一步做好流动人员人事档案管理服务工作,更好地服务人才、服务发展、服务民生,有关人事档案接收的事项如下:
以便民、利民为首要前提,未就业的流动人员人事档案由现户籍所在地的公共人才服务机构接收管理;已就业的流动人员人事档案由现工作单位所在地或现户籍所在地的公共人才服务机构接收管理;离职失业期间的流动人员人事档案由原工作单位所在地或原人事档案所在地或现户籍所在地的公共人才服务机构接收管理。
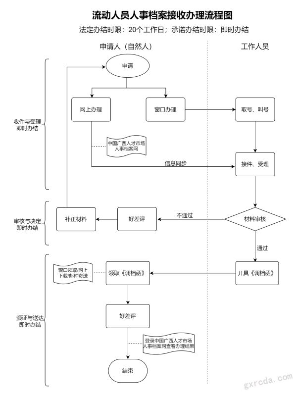
现场办理、网上办理(具体可查看《档案业务在线办申报服务指南》
1.申请人居民身份证原件或社会保障卡(委托他人办理,需提供《个人授权委托书》、委托人居民身份证或社会保障卡复印件、受托人居民身份证或社会保障卡原件);如申请设立单位集体账户,存档单位工作人员持本人居民身份证或社保卡等有效身份证件及营业执照等有关证件,到档案管理服务机构申请设立。
2.已就业的,提供与当地非公有制经济组织和社会组织(单位)的《劳动合同》原件(如已参加社会保险可从社保系统获取参保数据,该材料无需提供);灵活就业的,提供灵活就业的有效证明材料原件(如与滴滴、美团等平台签订的合作协议等)或实行个人承诺制(如已参加社会保险可从社保系统获取参保数据,该材料无需提供);创业的,提供《营业执照副本》原件(按就业创业所在地接收管理原则。如已参加社会保险可从社保系统获取参保数据,该材料无需提供);未就业的,提供户口本原件(按户籍所在地接收管理原则);辞职辞退、取消录(聘)用或被开除的机关事业单位工作人员,与企事业单位解除或终止劳动(聘用)关系的人员,提供与单位脱离行政(或劳动)隶属关系的批文、批复或通知原件(如在三个月内与单位解除劳动关系的,可从社保系统获取减保数据,该材料无需提供)。
广西壮族自治区人才服务中心人事代理部
广西南宁市金洲路33号广西人才大厦广西壮族自治区人才服务中心一楼10-14号档案服务窗口。
时间:周一至周五 上午9:00-12:00,下午14:00-18:00,国家法定节假日除外。
联系电话:0771-5505011
通过网上受理的业务,可自行在网上下载电子调档函或申请邮寄寄送纸质调档函;通过现场办理的业务,现场开具纸质调档函。
中国广西人才市场人事档案网(https://www.gxrcda.com/)
问题:高校毕业生离校后,如何查找本人的人事档案?
解答:可在“中国广西人才市场人事档案网”首页中的“人事档案查询”栏目进行查询;可向户籍所在地或现工作单位所在地(广西区内)公共人才服务机构进行查询;若均查询不到,还可向毕业院校的学生档案馆进行查询。
问题:档案网上申请业务受理时限是多长时间?
解答:档案网上申请业务2个工作日内受理。
常见错误示例:因机构改革更名,目前仍有单位将我单位名称错写为“广西壮族自治区人才交流服务中心”或“广西壮族自治区人才服务办公室”,正确名称应为“广西壮族自治区人才服务中心”。