页面
配色
辅助线
重置
简体版| 繁体版| 智能问答 用户空间
支持IPv6
无障碍
当前位置:首页 > 公共服务 > 企业开办 > 注册登记 > 我要看

钦北区政务服务中心企业开办综合窗口“开办即开户”办事指南

2021-08-25 14:26     来源:钦北区政务服务监督管理局
收藏 我要收藏 公共资源调用站点 文章分享
分享 微信
头条
微博 空间 qq
【字体: 打印

 、事项名称

企业开办即开户(企业设立登记、刻制印章、申领发票、银行开户、社保登记、医保登记、住房公积金缴存开户登记)

二、事项类型     

行政许可

三、设定依据

1.《中华人民共和国公司法》(2013年12月28日主席令第八号修正)第六条第一款。

2.《中华人民共和国公司登记管理条例》(1994年6月24日国务院令第156号公布,2016年2月6日国务院令第666号第三次修订,自公布之日起施行)第二条第一款。

3.《广西壮族自治区国家行政机关和企业事业单位社会团体印章管理办法》第二十条第(三)项。

4.《中华人民共和国税收征收管理法》(2001年04月28日中华人民共和国主席令第49号发布,2001年5月1日起施行)第十五条第一款。

5.《国家税务总局关于修改〈税务登记管理办法〉的决定》(2014年12月27日国家税务总局令第36号发布,2015年3月1日起施行)。

四、承办机构

    钦北区政务服务中心企业开办综合窗口

五、实施对象

 钦北区行政区划内登记注册的有限责任公司。

六、申请材料

公司提交材料

1.《一般企业开办即开户申请书》;

2.公司章程;

3.董事(执行董事)、监事、经理、法定代表人任职文件(根据《公司法》和公司章程的规定,有限责任公司提交股东决定或股东会决议,发起设立的股份有限公司提交股东大会会议记录(募集设立的股份有限公司提交创立大会会议记录)。对《公司法》和章程规定公司组织机构人员任职须经董事会、监事会等形式产生的,还需提交董事签字的董事会决议、监事签字的监事会决议);

4.股东主体资格证明和自然人身份证明(包括股东、董事、监事、经理、法定代表人、联络员、指定代表或委托代理人等自然人身份证明);

5.住所证明(含住所或经营场所使用承诺、“住改商”承诺等文书。根据《广西壮族自治区企业住所和经营场所登记管理办法》第四条规定,使用自有场所的,提交房屋或者土地权属证明;使用非自有场所的,提交租赁、借用合同及房屋或者土地权属证明。尚未取得权属证明的,提交房屋购买合同、土地使用权受让合同、房屋竣工验收、规划建设许可等其中一种证明文件;无法提交上述证明的,提交土地房屋管理部门或者乡镇人民政府、街道办事处、居(村)民委员会出具的合法使用证明。)。

注:1.一般企业指的是以上述材料规范完成一般常规性设立登记的内资有限责任公司(含股份有限公司)。

 2.一般企业开办需要提交的 5份材料,已整合公章刻制、申领发票等信息形成《一般企业开办即开户申请书》“一套材料”,由主表和附表组成。

3.法律、行政法规和国务院决定规定设立公司必须报经批准的或公司申请登记的经营范围中有法律、行政法规和国务院决定规定必须在登记前报经批准的项目,需补充提交有关批准文件或者许可证件的复印件。

◆内资有限责任公司办理设立时,法定代表人和股东,股份有限公司发起人,公司董事、监事、经理,企业委托代理人、联络员等身份的自然人,需要在“登记注册身份实名验证APP”做实名认证。

安卓手机用户在软件商店搜索“登记注册身份实名验证APP”,苹果手机用户在苹果软件商店(App store)搜索“登记注册身份实名验证APP”后下载安装到手机。

七、办结时限

(一)法定办结时限:20个工作日

(二)承诺办结时限:1个工作日。

八、收费依据标准及依据

不收费

九、服务时间

工作日上午:9:00-12:00,下午:13:30-16:30

十、咨询、投诉电话

咨询电话:0777-2561153

1.企业登记注册:0777-2561153

2.印章刻制:0777-3891608

3.税务办理:0777-3607570

4.投诉电话:0777-3607538

十一、邮编:535000

十二、办理地址:

1.现场办理地址:钦州市钦北区政通街3号钦北区政务服务中心一楼企业开办综合窗口3、4号。

2.广西数字政务一体化平台广西企业开办“一窗通”平台网址:http://zwfw.gxzf.gov.cn/yct/

3.钦州市企业综合服务一网通办平台网址:

http://202.103.219.149:1999/qzywtb/qzzwdt/default/index.html

 办理发票申领的企业,法定代表人、执行合伙企业事务合伙人(委派代表)、办税人需要进行实名信息采集和验证(可以通过广西电子税务局、广西税务12366公众号进行采集及验证)

 

(备注:根据桂政办电〔2018〕114号文件要求,县政务服务中心对居民身份证、营业执照、学历学位证书等19类证明材料提供免费复印)

 

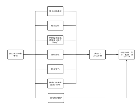
钦北区企业“开办即开户”流程图

 

文件下载:

关联文件:

    扫一扫在手机打开当前页

    ./t15578988_ext.json